< Page:Great Neapolitan Earthquake of 1857.djvu
This page has been validated.

THE FLOORS AND TRANSVERSE TO SAME.

105

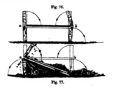
same instant and at the same level. This only happens when the direction of shock is pretty nearly in the line of the joists, as , (Fig. 76). In such a case, the floor is almost

certain, if of any considerable magnitude, to bring down the end wall, upon which it strikes with the power of a "battering ram."

The sockets of the joists, (inserted, as, has been stated, they commonly are, into the bare masonry without tossal or bond timber,) become partially occupied by fragments fallen into them, and on the return into them of the drawn-out ends, these thump out holes, right through the wall, or shake the bond of the masonry effectually. The wall , for the height of the story below, falls outwards, or in the direction of movement of the floor and wave, but for that portion above the shaken floor, it falls inwards, or upon the floor itself, and, at the moment after the whole support, of the floor beneath at that end has been withdrawn. The end of the floor therefore sinks and falls, and the other end of the joists, so far as they still remain in their sockets, act as levers, thus loaded, and prize the wall at the end asunder, so that

This article is issued from Wikisource. The text is licensed under Creative Commons - Attribution - Sharealike. Additional terms may apply for the media files.