ON THE HABITS OF ANTS.
55
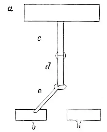
paper bridges, I proceeded as follows: Any friends who came with her were excluded from the bridges when she was on them. If she was not there, as soon as a friend arrived at the bridge c, I took up e in my fingers and rubbed it lightly, with a view of removing or blurring the scent; and as soon as the ant arrived on d I took up the bridge c, and put it across the chasm from d to b'. Now, if the ant went by description, she would of course cross e to b. If, on the

other hand, she went by scent, then she would be at the least as likely to go over c to b'. The results were that, out of about one hundred and twenty friends who passed over d, only twenty went to the food, while nearly one hundred passed over c to the empty glass. In this case the friends generally came more or less in sight of one another to the bridge c, and, once there, could hardly avoid arriving either at b or b'. I therefore modified the experiment as follows: I established and endowed an ant as before, imprisoning the friends who came with her. When she got to know her way thoroughly, I allowed her to return to the nest on her own legs, but as soon as she emerged again I took her up and transferred her to the food.
Under these circumstances, as will be seen, very few ants indeed ever found their way to the food. I began this at 5.30, when she returned to the nest. At 5.34 she came out with no less than ten friends, and was then transferred to the food. The others wandered about a little, but by degrees returned to the nest, not one of them finding her way to the food. The first ant took some food, returned, and again came out of the nest at 5.39 with eight friends, when exactly the same happened. She again came out—