THE STEREOSCOPE: ITS HISTORY.
41
Subjectively, therefore, our condition is not so very different from that of the famous Cyclops. We have the advantage of being able to see double, by adjusting conditions properly; but, if sensation is to be trusted, the object is duplicated while the eye is single, although by other means we learn that the object remains single, and is only viewed from two different stand-points at the same moment, while the separate

Fig. 2.—Wheatstone's Stereoscope. (Front View.)

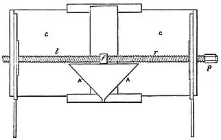
Fig. 3.—Wheatstone's Stereoscope. (Ground Plan.)
lines of direction for the two eyes meet elsewhere. By appropriate muscular training the eyes may be directed, each slightly outward, so that these lines meet behind the observer's head while the object, apparently duplicated, is seen still in front. The recognition of the subjective fusion of the two eyes into a Cyclopean, or central binocular eye, is a fundamental prerequisite for the explanation of vision in the stereoscope. In consequence of this, if two similar pictures are placed close in front of the eyes, the distance between their centers being equal to the distance between the pupils, they at once appear to coalesce into a single picture. In this way an objective existence may appear to be given to the binocular eye by approaching a mirror until the nose touches the glass, and avoiding the convergence of visual lines that would otherwise be natural. A narrow face is seen, possess-