BIOLOGY FOR YOUNG BEGINNERS.
585
anus, at the under part of the tail-piece (telson). On each side of the cephalo-thorax lies a long, soft, yellowish-green mass. This is the liver, and it opens into the small, pyloric end of the stomach by several ducts or pipes on each side. Away up in the front part of the cephalo-thorax, at the base of the feelers (antennæ) on either side

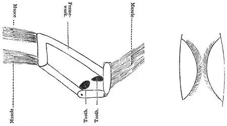
Fig. 23.—The Lobster's Mill.
you may see a soft green mass called the "green gland" (Fig. 22). This is supposed to be the kidney. Next we will take a look into the side-chambers (Fig. 22) of the cephalo-thorax, and see what the three pair of walking-legs, the great pincers (chelæ), and the two pairs of jaw-feet, are doing in there. In each chamber we find eighteen little,
![]() | |
Fig. 24.—The Mill and its Muscles. | Fig. 25.—The Hairy Cushions at the small end of the stomach, through which the Food is strained. |
tapering, feathery-like bodies. Each has a central stem, surrounded by fine, feathery filaments. They look very much like so many little bottle-brushes (Fig. 22). These are the gill-plumes, and this room is called the gill, or branchial chamber. The gills are placed in two sets, six in one and twelve in the other. The first row is fastened to