262
THE POPULAR SCIENCE MONTHLY.
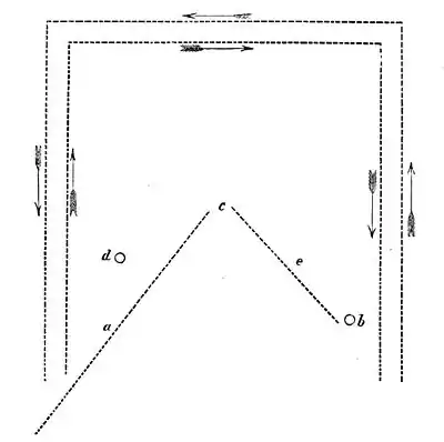
Their object in destroying other insects is protection of the encampment, and not the obtaining of food. While one section of the black workers is thus engaged, a more numerous division will be found employed in entering the quadrangle by a diagonal line, bearing north-east, and carrying flowers and fragments of aromatic leaves, which they deposit in the centre of the square.

Fig. 3.—Encampment of the Honey-making Ant (Myrmecocystus Mexicanus).
The line a of the sketch shows the path of this latter section, the mound of flowers and leaves being at c. This line leads to the shrubs, upon which another division of the black workers is settled, engaged in cutting off the leaves and petals to be conveyed to the nest. On the west side of the encampment is a hole marked d, leading to the interior of the nest. It is probably intended for the introduction of air, as, in case of any individuals carrying their loads into it, they immediately emerge and carry them to the common heap, as if conscious of having made a mistake. A smaller hole, near the southeast corner of the square, is the only other means by which the interior can be reached; and down this aperture, b, the flowers gathered by the black workers are carried along the line e from the heap in the centre of the square, by a number of the small yellow workers, who seem adapted for the gentler office of nurses for the colony within. No black ant is