24
THE POPULAR SCIENCE MONTHLY
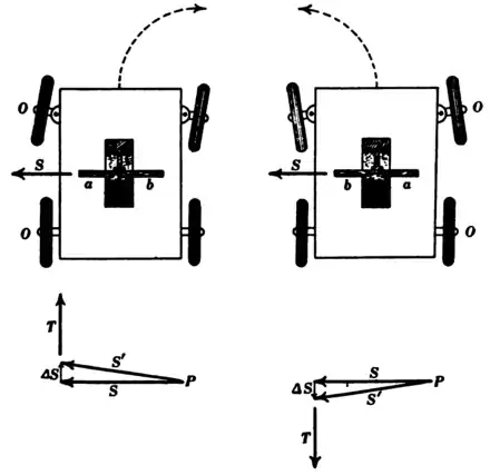
8 (sweeping of axis of spin about a vertical axis through O) brings about inertia reactions of the various particles of the spinning wheel which keep the wheel from falling under the pull of gravity; it is only necessary to show that to produce precessional motion there must act upon the gyrostat-wheel an unbalanced torque (the torque due to the pull of gravity upon the overhanging frame and wheel in Fig. 8). Fig. 10 represents a disk spinning in the direction of the curved arrows (in the front view), the spin being represented by the straight arrow S in the side view. Imagine the axle of spin to sweep slowly

style="margin:0 auto 0 auto;font-size:85%;line-height:110%;text-align:center;font-variant:small-caps;border-collapse:collapse;background-color:transparent;" |width=220|Fig. 11. |width=220|Fig. 12. |}
around the vertical line CD in the direction of the curved arrows PP. This sweeping of the axle of spin about the line CD constitutes precessional motion, and CD is the axis of precession. Consider the front view of the spinning disk in Fig. 10; every particle in the upper half of the disk has a component of its velocity towards the right, and every particle in the lower half of the disk has a component of it» velocity towards the left. After a short interval of time the precessional motion moves the edge E of the disk forwards and the edge E' of the disk backwards in the figure, so that the velocity of every particle in the upper half of the disk is turned slightly backwards and the velocity of every particle in the lower half of the disk is turned slightly forwards, that is to say, every particle in the upper half of the