3

Could a untethered blimp be built strong enough to with stand a thunderstorm? Could wind generators be placed on it to transfer turbulence of shifting wind into wind power? Rain could be collected and provide showers if no lightning. Once full of electricity an water just elevate above the clouds.

I have marked it science fiction because the technology is there but has never been done.

Could a city be built out of Balloons?

Muze
  • 1
  • 1
  • 11
  • 36
  • You mean tethered blimps, of course. You may want to make this clear. What I don't get is why on earth you would want to carry an aeolian turbine on an aerostat, with massive implications regarding the need to resist immense wind pressure on the gigantic envelope, instead of simply putting it atop a slender pole. – AlexP Apr 17 '18 at 21:31
  • 2
    @AlexP unterthered – Muze Apr 17 '18 at 22:00
  • 1
    @AlexP Not related to the question, but putting wind turbines on tethered blimps has actually been considered. Ground causes drag and turbulence on the wind, so lifting the turbines of the ground would get faster and cleaner wind. I think the idea is more or less dead, though. People have just gotten better at building wind power without blimps and offshore wind gives similar advantages with less engineering issues. – Ville Niemi Apr 17 '18 at 22:04
  • 4
    Untethered blimps either move with the wind if they have no engines, and in this case they cannot extract energy from the wind because there is no relative movement; or, if they have engines so that they can move against the wind, it would be pointless to put aeolian generators on them because the only relative movement is due to the energy expended by the engines. – AlexP Apr 17 '18 at 22:06
  • @AlexP your last comment could be elaborated into a great answer. – The Square-Cube Law Apr 17 '18 at 22:45
  • 2
    @AlexP Of course you don't experience zero wind aboard a blimp in windy weather. Gusts and inertia will allow you to collect some energy. – Samuel Apr 17 '18 at 22:46
  • @AlexP Winds would be swishing in all directions I imagine at the right altitude. – Muze Apr 17 '18 at 22:48
  • Amount of energy that a windblown blimp can collect is minor compared to how much it can collect when properly anchored. – Alexander Apr 17 '18 at 23:16
  • @Alexander yes it could but the idea is to generate wind power without being anchored. Away to convert turbulence in flight into electricity I could not find. – Muze Apr 18 '18 at 01:37
  • I think it unlikely, considering that the turbulence inside a thunderstorm can be strong enough to rip airplanes to pieces: https://www.aopa.org/training-and-safety/air-safety-institute/accident-analysis/featured-accidents/thunderstorm-brings-flight-to-violent-end – jamesqf Apr 18 '18 at 05:39

2 Answers2

2

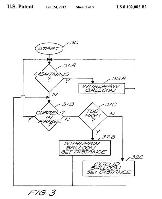
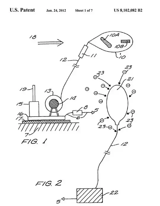
One could set up a circuit between blimp and ground and power the blimp using cloud charge.

There is charge in the sky and clouds which has difficulty making it to the ground because air is a decent insulator. If given a path to ground, current will flow as Ben Franklin demonstrated with his kite. Sometimes the charge is adequate to ionize its own path: lightning.

A blimp trailing a wire to ground (maybe a floating buoy buddy beneath) would offer a path for charge from air to ground. This charge difference could be used to power the blimp.

My search found that a patent exists for exactly this.

https://patents.google.com/patent/US8102082B2/en balloon electricity harvesterdecision tree for balloon deployment

Willk
  • 304,738
  • 59
  • 504
  • 1,237
2

One needs to consider the penultimate source of the energy one wishes to utilize. (The sun is the ultimate source and the only other source of energy on earth is radioactivity which was "manufactured" by previous suns/stars.) Some organisms use this source of energy at "vents" in the sea and hydro-thermal springs. All life uses energy originally sourced from the suns (note the plural suns.)

The main energy in a thunderstorm is gaseous water which makes heat as it condenses into rain (excuse the loose terminology). This sustains a thunderstorm although it is started by having a gradient of temperatures vs altitude build up such that any parcel of "warm" air that begins to rise and consequently expand (which cools the parcel) finds itself in surrounding air that is cooler than itself, thus it will continue to rise. Counter-intuitively one requires the atmosphere to get cooler "quickly" with altitude to enable this process It eventually cools off enough so that water vapor that it contains condenses thus providing enough energy to prevent the remaining gases of the air from getting cooler (and thus sinking)

In a manner of speaking thunderstorms "suck" from the top. Gliders avoid thunderstorms (or at least gaining an altitude within them where the uplift is so fast that the turbulence rips the aircraft apart) One glider reached an altitude of 53,000 feet delivering its dead pilot "safely" to ground. Even if one has 100% oxygen to breathe, once one is above 36,000 feet where the pressure is 1/4 of that at sea level, no one survives without "pressurization" due to the respiration rate required. People have climbed Everest (approx 30,000 feet) without supplemental oxygen. As one gains height one gains stored potential energy but only in a "heavier than air machine" which a blimp is not.

The power of lightning can be great but its lifetime is very short thus the total energy is minimal. The utilizable (total) electrical energy in a thunderstorm can be estimated by the number of lightning strikes it produces and even this is not relatively significant. We do use hydro-electrical energy some of which comes from thunderstorms as opposed to plain rain.

I hope this illuminates the problems posed by the question.

ecstatist
  • 21
  • 1